Пожалуйста, войдите в систему, чтобы воспользоваться расширенными функциями для идентификации товара.
Der Artikel wurde erfolgreich hinzugefügt.
Кредитная линия превышена
Заказы на удержании

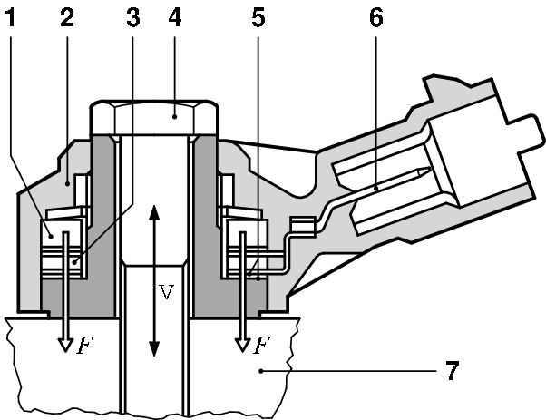
0 261 231 176 Датчик детонации1 Knock Sensor

Последний просмотр
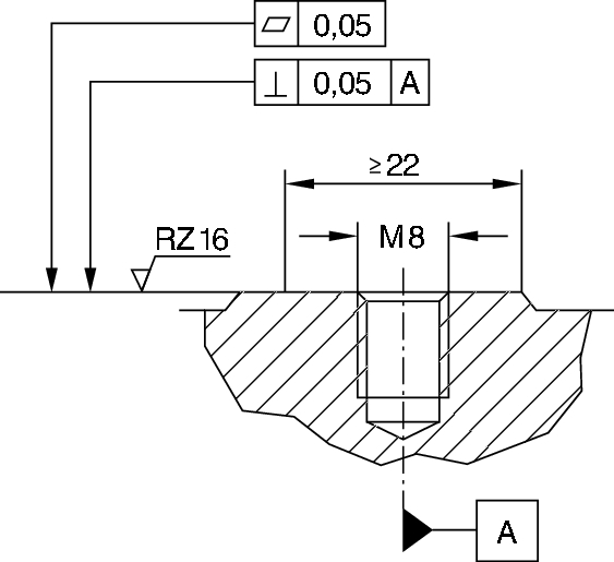
1) Руководства по монтажу прилагаются не во всех случаях. Если вам или вашим клиентам необходимы руководства по монтажу, запросите их при заказе. Все продукты следует устанавливать исключительно в соответствии с предусмотренным назначением, установку должны выполнять только квалифицированные работники. 2) Предлагаемые запчасти не являются оригинальными. Указанные при этом номера оригинальных запчастей служат только для сравнения, данные информационные материалы были составлены тщательно и добросовестно, однако отсутствие ошибок не гарантируется. Мы не берём на себя ответственность за правильность информации. Перед монтажом необходимо каждый раз проверять пригодность для применения.